애플워치, 자체 카메라 탑재 기술 특허 등록
화상회의, 액션캠 등으로도 확장될 것
최근 애플워치에 내장 카메라를 탑재하는 기술을 특허로 출원한 것으로 밝혀졌습니다. 본 기술이 실현되면 화상통화 카메라와 액션캠 등으로 사용하는 등 활용도가 많아 질 것으로 전망되고 있습니다.
스마트 워치가 일반화 되면서 시계에서 건강 관리 기능을 확장되었고, 다시 화상회의, 액션캠 등으로도 확장될 것으로 예상되어 활용도가 점점 더 확대될 것으로 보입니다.

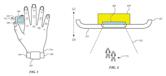
애플은 2월 7일 워치 특허 등록 사실을 밝혔습니다. 이 특허에 따르면 애플워치 후면에 내장 카메라가 장착된 형태입니다. 애플워치 화면을 카메라의 뷰파인더로 활용하고, 디지털 크라운을 셔터처럼 눌러 사진을 촬영하는 기능입니다.
애플워치를 보통 손목에 차기 때문에 본체를 밴드에서 분리해야 후면 카메라를 사용할 수 있는데, 애플은 사용자가 카메라를 사용할 때 본체를 밴드에서 쉽게 분리하도록 특수 밴드를 고안한 것입니다.
밴드의 오목한 곳에 시계 본체를 부착하는데, 이때 걸쇠나 버클 등으로 쉽게 떼어낼 수 있도록 한 것입니다. 애플은 해당 특허를 통해 “손목에서 시계 밴드를 풀어야 하는 번거로움 없이 시계를 찬 상태에서 본체만 쉽게 떼어낼 수 있다”며 “카메라를 사용한 후 밴드에 애플워치 본체를 다시 부착하면 된다”고 설명합니다.
![플워치를 밴드에서 분리한 모습(왼쪽)과 카메라의 시야각을 보여주는 단면. [미국 특허청 제공]](https://blog.kakaocdn.net/dna/brMLJ0/btr1lvYMl3A/AAAAAAAAAAAAAAAAAAAAADH4n4P6l43svnf7qr17KYhnbgL_ezgI9qZ3jdoEo_y_/img.jpg?credential=yqXZFxpELC7KVnFOS48ylbz2pIh7yKj8&expires=1767193199&allow_ip=&allow_referer=&signature=Dv0M%2FsgetC3WAauaazJEpWLTDxY%3D)
애플워치 울트라 후속 모델에 내장 카메라가 적용
과거에도 애플에서는 워치에 카메라를 넣기 위한 노력은 있었습니다.
2019년 회전식 카메라가 내장된 애플워치 밴드 특허를 취득한 바 있지만 상용화를 진행하지는 못했습니다.
이처럼 이번 특허가 바로 적용된다고 볼 수는 없지만 한결 진전된 내용이라 적용 가능성은 상당히 높아진 상황입니다.
해외 매체들은 향후 마이크로 LED(발광다이오드) 디스플레이를 탑재할 것으로 예상되는 애플워치 울트라 후속 모델에 내장 카메라가 적용되지 않을까 추측하고 있습니다.
플워치용 스마트 밴드인 손목캠
애플워치에 카메라 기능에 대한 욕구가 높다 보니 부가 액세서리로 사용할 수 있는 밴드형 카메라 모듈이 애플이 아닌 다른 업체에서 출시되기도 했습니다.
애플워치용 스마트 밴드인 손목캠은 말 그대로 손목에 부착하는 카메라를 말합니다. 전직 애플워치 디자이너와 앱 개발자가 개발한 제품으로 이 제품은 소니 기반의 8MP 후면 카메라와 2MP 전면 카메라가 탑재된 밴드입니다.
이와 함께 오디오를 녹음하는 마이크, 통합 배터리, 8GB 저장 용량을 갖춘 핵심 모듈로 구성돼 있었지만 손목에 추가로 장착하기 때문에 무게와 부피가 부담스럽고 번거롭게 느껴진다는 게 단점과 높은 가격( 299달러(약 39만 원)) 때문에 큰 인기를 끌지는 못했습니다.
최근에는 웨어러블 기기를 생산하는 후발 업체들이 종종 카메라가 탑재된 중저가형 스마트워치를 출시하고는 있습니다.

2024년 이후 출시 가능성 높아
애플빠의 입장에서 디자인의 간지가 없는 기능만 포한한 악세사리에 와우 포인트를 잡지는 못하고 있습니다.
결국 애플워치에 내장되었을 때 관심이 높을 것이고, 화면 해상도와 배터리 등 다른 스팩도 기대에 부응해야 하기 때문에 심혈을 기우리고, 고민한 후 결정할 것으로 전망됩니다.
애플 분석가들은 2024년에 현 애플워치보다 큰 1.89인치, 2.04인치 디스플레이를 지원하는 새로운 애플워치 10 시리즈가 출시될 것으로 전망하고 있습니다.
이에 카메라가 내장된 애플워치 출시는 시간이 좀 걸릴 수 있다고 보고 있습니다.
만약 애플이 이번 특허 기술을 제품에 반영한다면 스마트워치를 ‘웨어러블 아이폰’으로 전환하겠다는 큰 계획의 일부가 될 것으로 보입니다.
카메라 장착 여부와 상관없이 이러한 웨어러블 형태의 카메라 기술이 앞으로 어떻게 발전하고 적용될지 주목할 필요가 있다고 봅니다.
'애플뉴스' 카테고리의 다른 글
| 애플 인도 협력사 폭스링크 화재 … 아이폰 공급망 혼선 빚나 (1) | 2023.03.02 |
|---|---|
| 4세대 아이폰SE 6.1 인치 OLED 장착 전망 (0) | 2023.03.01 |
| 아이폰15 프로맥스 베젤·두께 더 얇아져 (0) | 2023.02.28 |
| 아이폰15 프로, '다크 레드' 색상 채택 전망 (0) | 2023.02.28 |
| 폴더블폰 애플도 참전할 것 (0) | 2023.02.23 |