얼굴인식 '페이스 ID'
애플의 대머리 콘셉트에 변화를 주려고 준비 중입니다.
애플이 얼굴인식 '페이스 ID'를 휴대폰 아래쪽으로 이동시켜 상단의 대머리를 지우려고 합니다. 디스플레이 아래로 페이스 ID를 숨기는 기술특허가 등록되었습니다.

언더디스플레이카메라[UDC]
스마트폰 카메라를 화면 아래에 보이지 않도록 숨겨서 완전한 풀스크린을 구현하는 기술이다.
삼성전자 갤럭시 Z 폴드3, 샤오미 미믹스4 등 최신 스마트폰에 적용되는 등 새로운 혁신 기술로 주목받고 있다.
셀피(셀카) 촬영과 영상 통화 등에 활용되는 스마트폰 전면 카메라는 디스플레이를 둘러싼 베젤 크기가 점차 줄어들면서 화면 안쪽으로 자리를 옮겼다. 카메라 모듈부만 베젤이 돌출된 노치 형태 또는 화면에 구멍을 뚫는 홀 방식이 주로 활용됐다.
언더디스플레이카메라(UDC)는 기존 노치나 홀 없이 전면 카메라 배치가 가능하다.
콘텐츠 몰입감 향상은 물론 디자인 측면에서도 심미성이 뛰어나다.
오포, ZTE 등 중국 스마트폰 브랜드가 수년 전부터 시제품을 선보이며 '최초' 타이틀을 노렸지만 정식으로 상용화가 돼 양산되는 제품으로 본격 출시된 것은 올해가 처음이다.
UDC의 기술적 난제는 카메라 화질과 디스플레이 품질이다.
디스플레이 밑에 카메라 렌즈가 탑재되는 만큼 빛이 패널을 통과하는 과정에서 손실됨으로써 화질 저하가 불가피하다.
투과성을 높이기 위해 해당 부분의 픽셀 밀집도를 낮추면 디스플레이 품질이 떨어지고, 주변부와의 색감·선명도 차이가 나타난다.
갤럭시Z 폴드 3에 폴더블 디스플레이를 공급한 삼성디스플레이는 투과율을 높인 혁신적 픽셀 구조를 적용하고 주변부 색 편차를 최소화하는 기술로 UDC 완성도를 높였다.
샤오미 미믹스의 경우 카메라 화질을 일부 절충한 대신 디스플레이 품질 향상에 중점을 더 둔 것으로 알려졌다.
애플도 UDC 특허
애플도 지난해와 올해 언더디스플레이카메라 기술 관련 특허를 낸 것으로 확인되었습니다.
페이스 ID용 카메라를 화면 아래에 숨겨 보이지 않게 하고, 이로 인한 디스플레이 왜곡을 줄이기 위해 디지털 필터를 적용한다는 내용이 주를 이루었습니다.
UDC는 카메라를 디스플레이 패널 밑으로 넣는 기술로 삼성전자 등 안드로이드 스마트폰에는 이미 적용된 기술이기도 합니다.
다만 애플이 UDC를 적용한 아이폰을 손보이는 시기는 2025년 이후가 될 것으로 전망됩니다. 이는 페이스ID 센서 문제가 완전히 해결되지 않을 것으로 알려져 있기 때문입니다.

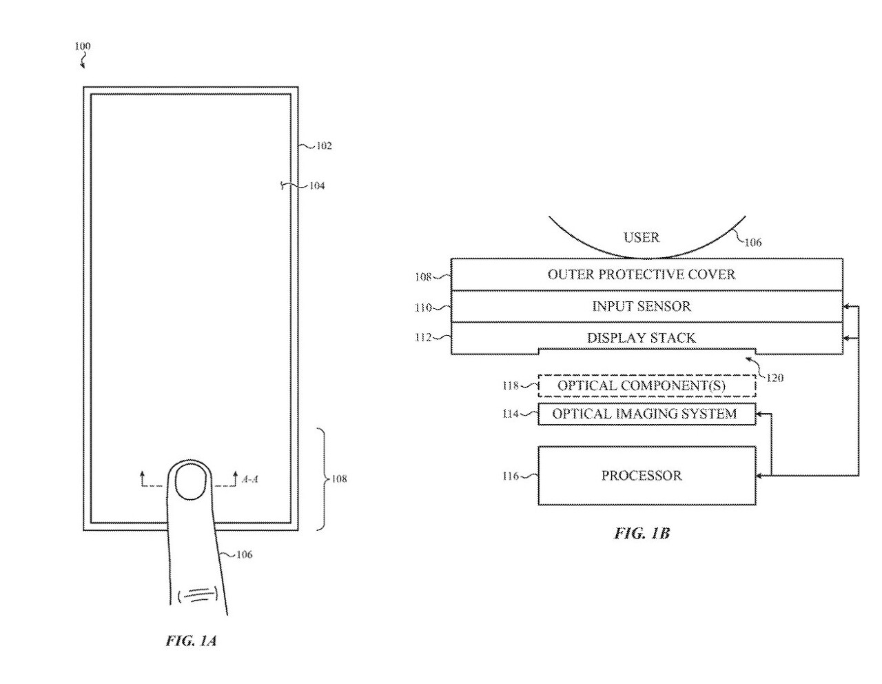
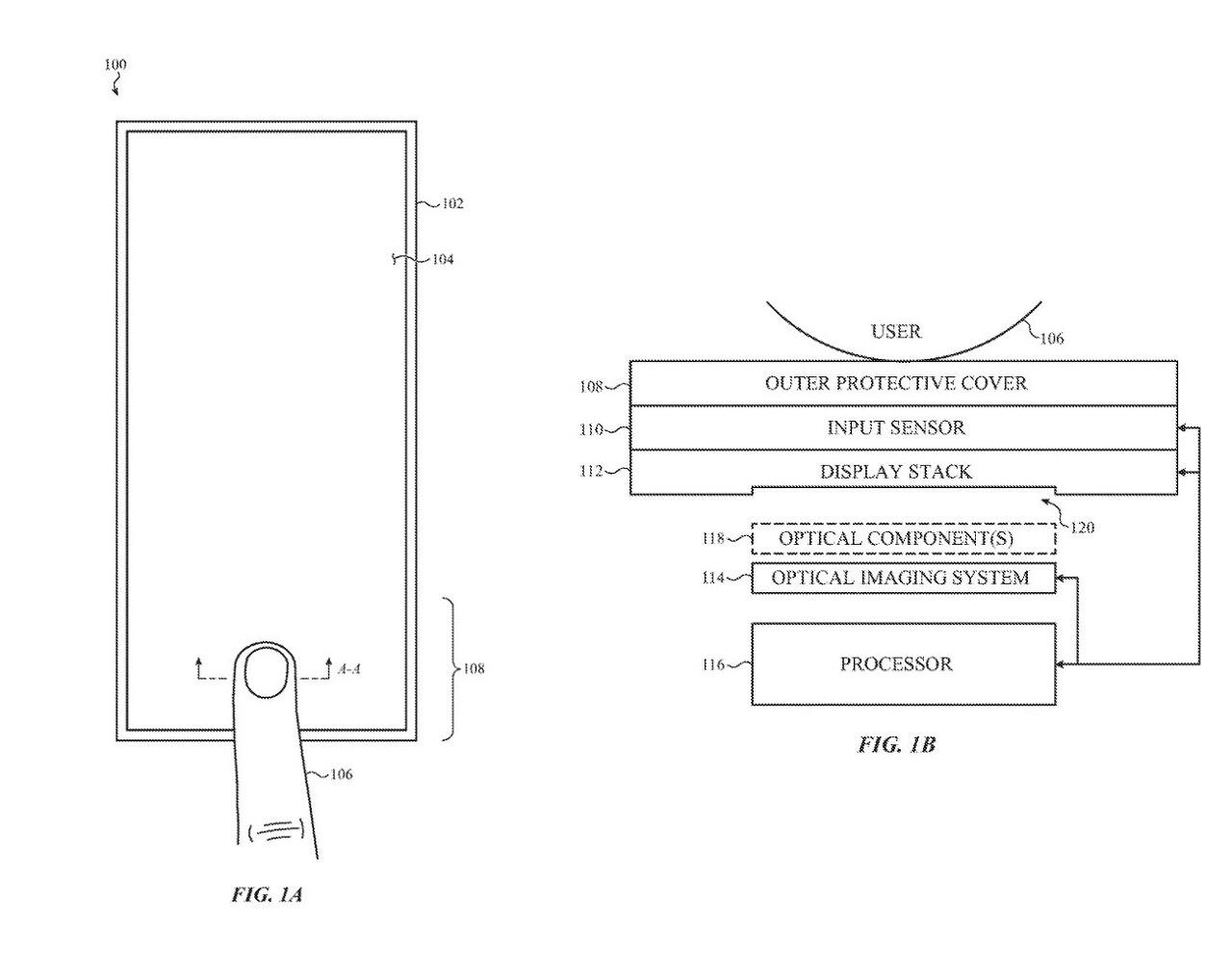
지문인식 터치 ID
애플은 지문인식 터치 ID 도입도 연구 중인 것으로 밝혀졌습니다. 현재 아이폰SE등에 적용된 방식이 아닌 디스플레이 아래에 터치ID를 배치하는 방식이될 것으로 보입니다.
이를 위해 애플 출원 터치ID 특허는 단파 적외선과 광학 이미징 시스템을 결합한 새로운 언더 스크린 터치ID 특허를 취득했습니다.
본 특허는 광학 이미지 시스템은 사용자의 지문을 인식할 뿐만 아니라 정맥 팬턴, 혈중 산소량, 맥박 등도 측정할 수 있는 기능이 포함되어 있습니다. 또 사용자가 장갑을 착용하고 있는지, 손이 물에 젖었는지도 판별하여 작동될 수 있도록 설계되었습니다.
이와 같은 특허는 2026년 아이폰에서 새로운 언더 디스플에이 터치ID 기능 구현이 가능하며, 같은 해에 페이스 ID와 전면 카메라 모두 화면 아래 내장될 것으로 예상됩니다.
자산 관리 참고 사이트 :
귀농 지원금 3억 받는 방법 및 자격에 대하여
정부에서 귀농인들에게 엄청난 지원을 한다고 하는데 어떤 지원이 있는지, 흔한 말로 귀농 지원금 3억을 준다는데 어떻게 받을 수 있고, 조건은 어떻게 되는지 확인해 보겠습니다. 신청 대상자,
salaryfarmer.com
출처 : 월급 받는 농부
'애플뉴스' 카테고리의 다른 글
| 애플페이 아이폰 상륙한다 (0) | 2023.03.14 |
|---|---|
| 애플 맥 제품군 전략 윤곽 나왔다 (0) | 2023.03.13 |
| 아이폰·아이패드·맥 사용자 나이 조사 결과 (2) | 2023.03.11 |
| 애플 워치 ‘봄맞이’ 스프라우트 그린/카나리 옐로/올리브/퍼플 포그 색상 (1) | 2023.03.09 |
| 애플 M3 탑재한 맥북 에어 13인치, 15인치 출시 예정 (1) | 2023.03.08 |